Báo cáo đề xuất cấp giấy phép môi trường nhà máy giấy bao gói thực phẩm, giấy in nhiệt
Báo cáo đề xuất cấp (GPMT) giấy phép môi trường xây dựng nhà máy giấy bao gói thực phẩm, giấy in nhiệt, giấy làm cốc công suất là 25.000 tấn sản phẩm/năm.
ĐỀ XUẤT CẤP GIẤY PHÉP MÔI TRƯỜNG (GPMT) DỰ ÁN NHÀ MÁY SẢN XUẤT GIẤY BAO GÓI THỰC PHẨM, GIẤY IN NHIỆT VÀ GIẤY LÀM CỐC CÔNG SUẤT 25.000 TẤN/NĂM
I. MỞ ĐẦU
Sự phát triển mạnh mẽ của ngành thực phẩm, bán lẻ, thương mại điện tử và dịch vụ ăn uống đã kéo theo nhu cầu lớn về các sản phẩm giấy dùng một lần có tính năng chuyên biệt như giấy bao gói thực phẩm, giấy in nhiệt dùng cho hóa đơn, máy tính tiền và giấy làm cốc giấy. Đáp ứng xu hướng tiêu dùng an toàn, tiện lợi và thân thiện với môi trường, các sản phẩm giấy bao gói ngày càng đóng vai trò quan trọng trong chuỗi cung ứng. Song song với sự phát triển này là yêu cầu về sản xuất bền vững, tuân thủ quy định pháp lý về bảo vệ môi trường.
Dự án xây dựng nhà máy sản xuất giấy bao gói thực phẩm, giấy in nhiệt và giấy làm cốc với công suất thiết kế 25.000 tấn sản phẩm/năm là dự án công nghiệp thuộc nhóm có nguy cơ phát sinh chất thải ở mức vừa đến cao, với các nguồn thải đặc thù từ hoạt động sản xuất giấy, xử lý bột giấy, sử dụng hóa chất phủ bề mặt và vận hành hệ thống máy móc công nghiệp. Việc lập hồ sơ đề xuất cấp Giấy phép môi trường (GPMT) là yêu cầu bắt buộc theo quy định của Luật Bảo vệ môi trường 2020 và các văn bản hướng dẫn.
Báo cáo nghiên cứu này nhằm trình bày các nội dung trọng tâm của hồ sơ đề xuất GPMT, đánh giá đầy đủ các nguồn phát sinh chất thải, đối tượng bị ảnh hưởng, mức độ tác động, khả năng tiếp nhận môi trường và các giải pháp kỹ thuật kiểm soát môi trường theo hướng bền vững, nhằm đảm bảo dự án được thực hiện đúng quy định và góp phần vào mục tiêu phát triển công nghiệp thân thiện với môi trường.
II. TỔNG QUAN DỰ ÁN VÀ QUY MÔ SẢN XUẤT
Dự án nhà máy được đầu tư xây dựng tại khu công nghiệp đã có quy hoạch và hạ tầng tiếp nhận nước, xử lý nước thải, điện năng và giao thông. Diện tích sử dụng đất dự kiến từ 3 đến 5 ha, bao gồm các hạng mục chính như nhà xưởng sản xuất giấy, kho nguyên liệu, kho thành phẩm, khu xử lý nước thải, văn phòng điều hành, khu vực kỹ thuật và các công trình phụ trợ.
Công suất thiết kế của nhà máy là 25.000 tấn sản phẩm/năm, chia theo cơ cấu sản phẩm bao gồm:
-
Giấy bao gói thực phẩm: chiếm khoảng 60% sản lượng, được xử lý bề mặt để tăng khả năng kháng ẩm, an toàn tiếp xúc thực phẩm, đáp ứng tiêu chuẩn vệ sinh thực phẩm.
-
Giấy in nhiệt: chiếm khoảng 25% sản lượng, sử dụng lớp phủ nhiệt nhạy cảm để in không dùng mực, chủ yếu ứng dụng trong hóa đơn, nhãn hàng hóa.
-
Giấy làm cốc: chiếm 15% sản lượng, có yêu cầu cao về độ bền, khả năng chống thấm và độ an toàn khi tiếp xúc trực tiếp với đồ uống nóng/lạnh.
Nguyên liệu chính bao gồm bột giấy nguyên sinh, giấy tái chế đã xử lý sơ bộ, hóa chất phủ bề mặt (chủ yếu là nhựa latex, chất chống thấm, chất tạo nhiệt), phụ gia sản xuất và nước. Dây chuyền sản xuất chính bao gồm máy xeo giấy, máy tráng phủ, hệ thống sấy nhiệt, máy cắt, cuộn và đóng gói tự động.
III. CĂN CỨ PHÁP LÝ VÀ YÊU CẦU PHẢI LẬP GIẤY PHÉP MÔI TRƯỜNG
Theo quy định tại Luật Bảo vệ môi trường 2020 và Nghị định số 08/2022/NĐ-CP hướng dẫn chi tiết, dự án xây dựng nhà máy sản xuất giấy thuộc danh mục các dự án phải thực hiện thủ tục đề xuất cấp Giấy phép môi trường do có công đoạn sử dụng hóa chất, phát sinh chất thải đặc thù và công suất sản xuất vượt ngưỡng quy định.
Hồ sơ đề xuất GPMT phải thể hiện rõ quy trình công nghệ, nguồn phát sinh chất thải, khối lượng và thành phần chất thải, biện pháp xử lý tại chỗ hoặc hợp đồng xử lý ngoài, kế hoạch giám sát môi trường, phương án ứng phó sự cố và cam kết tuân thủ pháp luật về bảo vệ môi trường. Việc cấp giấy phép được thực hiện bởi cơ quan quản lý môi trường cấp tỉnh hoặc trung ương tùy theo quy mô và địa điểm dự án.
IV. CÁC NGUỒN GÂY Ô NHIỄM TRONG QUÁ TRÌNH VẬN HÀNH NHÀ MÁY
-
Nước thải
Phát sinh chủ yếu từ các công đoạn làm sạch bột giấy, rửa thiết bị, làm mát và vệ sinh nhà xưởng. Nước thải có chứa bột giấy lơ lửng, chất hữu cơ, hóa chất từ lớp phủ (ví dụ nhựa, chất phụ gia) và kim loại nặng với hàm lượng thấp. Lượng nước thải dao động từ 10 đến 25 m³ cho mỗi tấn giấy thành phẩm, tùy công nghệ và tỷ lệ tái sử dụng nước. -
Khí thải
Gồm khí thải từ hệ thống sấy, khí thải từ lò hơi (nếu sử dụng đốt dầu hoặc sinh khối), hơi chứa chất hữu cơ bay hơi từ quá trình tráng phủ. Thành phần khí thải có thể chứa bụi mịn, hơi hữu cơ dễ bay hơi (VOC), oxit nitơ, oxit lưu huỳnh và CO2. -
Chất thải rắn
Gồm bùn thải từ hệ thống xử lý nước thải, giấy thừa, cuộn lỗi, bao bì nguyên liệu, chất thải rắn sinh hoạt từ công nhân. Trong đó, bùn thải và giấy lỗi có thể tái sử dụng hoặc xử lý bằng hình thức ủ compost hoặc đốt. Một phần chất thải có thể được phân loại là chất thải công nghiệp thông thường hoặc chất thải nguy hại nếu chứa hóa chất tồn dư. -
Tiếng ồn
Phát sinh từ máy xeo, máy cán, quạt hút khí, bơm nước và hoạt động vận hành xe nâng, xe tải. Mức tiếng ồn trong nhà máy có thể dao động từ 75 đến 90 dBA, nếu không có biện pháp cách âm và bảo vệ cho công nhân. -
Nhiệt dư và mùi
Nhiệt phát sinh từ hệ thống sấy và lò hơi có thể gây tăng nhiệt cục bộ. Mùi phát sinh chủ yếu từ khu vực xử lý nước thải, bể chứa hóa chất nếu không được che chắn và kiểm soát kín.
V. ĐÁNH GIÁ MỨC ĐỘ VÀ PHẠM VI TÁC ĐỘNG MÔI TRƯỜNG
Dự án có quy mô lớn với sản lượng lên tới 25.000 tấn/năm, do đó mức độ phát thải các chất ô nhiễm ở mức trung bình đến cao nếu không có biện pháp xử lý hiện đại. Phạm vi tác động có thể lan đến môi trường đất, nước, không khí trong khu vực nội bộ nhà máy và khu dân cư, nếu có, trong bán kính ảnh hưởng từ 500 đến 1.000 mét.
Nước thải nếu không được xử lý đạt chuẩn có thể gây ô nhiễm nguồn nước tiếp nhận, ảnh hưởng đến thủy sinh và sức khỏe cộng đồng. Khí thải chứa bụi, VOC và khí acid có thể gây tác động tới chất lượng không khí, tạo mưa acid, ảnh hưởng đến hệ sinh thái lân cận. Bùn thải và giấy thải nếu không được quản lý đúng quy trình có thể dẫn đến ô nhiễm thứ cấp. Tiếng ồn và rung động ảnh hưởng đến sức khỏe công nhân, gây mệt mỏi, giảm năng suất lao động và nếu kéo dài có thể dẫn đến mất thính lực.
VI. BIỆN PHÁP GIẢM THIỂU VÀ KIỂM SOÁT Ô NHIỄM ĐỀ XUẤT TRONG HỒ SƠ GPMT
-
Xử lý nước thải
Lắp đặt hệ thống xử lý nước thải đạt tiêu chuẩn QCVN. Công nghệ áp dụng gồm bể điều hòa, keo tụ - tạo bông, tuyển nổi, xử lý sinh học hiếu khí, khử trùng và lọc cát. Nước thải sau xử lý có thể được tái sử dụng một phần để rửa sàn hoặc tưới cây, phần còn lại xả vào hệ thống thu gom chung sau khi đạt quy chuẩn. -
Xử lý khí thải
Khí thải từ hệ thống sấy và tráng phủ được thu gom qua hệ thống hút, xử lý bằng tháp hấp phụ than hoạt tính hoặc hệ thống hấp thụ hóa chất nếu chứa VOC. Lò hơi được trang bị bộ lọc bụi túi vải, cyclone và kiểm soát nhiệt độ cháy để giảm phát thải NOx. -
Quản lý chất thải rắn
Chất thải rắn được phân loại ngay tại nguồn. Giấy thừa, cuộn lỗi được tái sử dụng trong sản xuất. Bùn thải được ép khô, phối hợp xử lý với đơn vị có chức năng. Bao bì hóa chất và vật liệu nguy hại được lưu giữ tại kho chuyên dụng, có ký hợp đồng xử lý với đơn vị được cấp phép. -
Kiểm soát tiếng ồn và rung động
Bố trí các thiết bị phát tiếng ồn trong khu vực riêng biệt, sử dụng vật liệu cách âm tại nhà xưởng, trang bị bảo hộ cá nhân và luân phiên ca làm để giảm thiểu thời gian tiếp xúc. Thường xuyên kiểm tra, bảo trì thiết bị để đảm bảo vận hành êm và hiệu quả. -
Phòng ngừa sự cố môi trường
Lập phương án ứng phó sự cố tràn hóa chất, cháy nổ, rò rỉ khí độc và sự cố nước thải. Bố trí hệ thống báo cháy, hệ thống chống tràn, vùng cách ly và tập huấn định kỳ cho nhân viên. -
Giám sát môi trường định kỳ
Thiết lập chương trình quan trắc chất lượng không khí, nước thải, tiếng ồn và chất lượng sản phẩm đầu ra theo quý hoặc bán niên, kết hợp với kiểm tra của cơ quan nhà nước và đơn vị tư vấn chuyên môn.
VII. CAM KẾT TUÂN THỦ MÔI TRƯỜNG VÀ TRÁCH NHIỆM DOANH NGHIỆP
Chủ dự án cam kết đầu tư đầy đủ hệ thống bảo vệ môi trường, vận hành liên tục và hiệu quả. Toàn bộ hệ thống xử lý được bảo trì định kỳ và giám sát tự động. Cán bộ quản lý môi trường được bố trí có trình độ chuyên môn, thường xuyên được tập huấn và cập nhật chính sách mới. Ngoài ra, doanh nghiệp sẽ tham gia các hoạt động cộng đồng về bảo vệ môi trường, minh bạch thông tin và tiếp nhận phản hồi từ người dân.
VIII. KẾT LUẬN
Dự án xây dựng nhà máy sản xuất giấy bao gói thực phẩm, giấy in nhiệt và giấy làm cốc là cơ sở công nghiệp hiện đại có tiềm năng phát triển lớn trong bối cảnh kinh tế xanh và tiêu dùng bền vững. Tuy nhiên, với tính chất sản xuất đặc thù, dự án phát sinh nhiều loại chất thải có nguy cơ tác động đến môi trường nếu không được kiểm soát hiệu quả.
Báo cáo đề xuất cấp Giấy phép môi trường là công cụ quan trọng nhằm bảo đảm tính pháp lý, khoa học và thực tiễn trong quản lý môi trường của dự án. Thông qua việc đánh giá đầy đủ các nguồn thải, xác định mức độ tác động và xây dựng hệ thống giải pháp giảm thiểu, dự án có thể đạt được các mục tiêu phát triển kinh tế đi đôi với bảo vệ môi trường và sức khỏe cộng đồng. Việc tuân thủ nghiêm túc các quy định và vận hành đúng theo nội dung giấy phép sẽ là tiền đề để doanh nghiệp phát triển ổn định, góp phần vào sự tăng trưởng bền vững của ngành công nghiệp giấy và bao bì Việt Nam.
DANH MỤC CÁC TỪ VÀ CÁC KÝ HIỆU VIẾT TẮT
3. Công suất, công nghệ, sản phẩm sản xuất của cơ sở
3.2. Công nghệ sản xuất của cơ sở
4.1. Nguyên, phụ liệu, hóa chất sử dụng
4.4. Danh mục trang thiết bị máy móc của cơ sở.
5. Các thông tin khác liên quan đến cơ sở.
SỰ PHÙ HỢP CỦA CƠ SỞ VỚI QUY HOẠCH, KHẢ NĂNG CHỊU TẢI CỦA MÔI TRƯỜNG
2.2. Sự phù hợp của cơ sở đối với khả năng chịu tải của môi trường
KẾT QUẢ HOÀN THÀNH CÁC CÔNG TRÌNH, BIỆN PHÁP BẢO VỆ MÔI TRƯỜNG CỦA CƠ SỞ
1. Công trình, biện pháp thoát nước mưa, thu gom và xử lý nước thải
1.1. Hệ thống thu gom, thoát nước mưa
1.2. Hệ thống thu gom, thoát nước thải
2. Công trình, biện pháp xử lý bụi, khí thải.
3. Công trình, biện pháp lưu giữ, xử lý chất thải rắn thông thường
4. Công trình, biện pháp lưu giữ, xử lý chất thải nguy hại
5. Công trình, biện pháp giảm thiểu tiếng ồn, độ rung
6. Phương án phòng ngừa, ứng phó sự cố môi trường.
7. Công trình, biện pháp bảo vệ môi trường khác.
9. Các nội dung thay đổi so với quyết định phê duyệt cấp giấy phép môi trường.
NỘI DUNG ĐỀ NGHỊ CẤP GIẤY PHÉP MÔI TRƯỜNG
4.1. Nội dung đề nghị cấp phép đối với nước thải
4.1.1. Nguồn phát sinh nước thải
4.1.2. Lưu lượng xả nước thải tối đa
4.1.4. Các chất ô nhiễm và giá trị giới hạn của các chất ô nhiễm theo dòng nước thải
4.1.5. Vị trí, phương thức xả nước thải và nguồn tiếp nhận nước thải
4.2. Nội dung đề nghị cấp phép đối với khí thải
4.2.1. Nguồn phát sinh khí thải
4.2.2. Lưu lượng xả khí thải tối đa
4.2.4. Các chất ô nhiễm và giá trị giới hạn của các chất ô nhiễm theo dòng khí thải
4.2.5. Vị trí, phương thức xả khí thải
4.3. Nội dung đề nghị cấp phép đối với tiếng ồn, độ rung: Không có.
KẾT QUẢ QUAN TRẮC MÔI TRƯỜNG CỦA CƠ SỞ
5.1. Kết quả quan trắc môi trường định kỳ đối với nước thải
5.2. Kết quả quan trắc môi trường định kỳ đối với khí thải
CHƯƠNG TRÌNH QUAN TRẮC MÔI TRƯỜNG CỦA CƠ SỞ
1. Kế hoạch vận hành thử nghiệm công trình xử lý chất thải
1.1.Thời gian dự kiến vận hành thử nghiệm
1.2.1. Tóm tắt kế hoạch lấy mẫu:
1.3. Tổ chức, đơn vị quan trắc, đo đạc, lấy và phân tích mẫu.
2. Chương trình quan trắc chất thải định kỳ theo quy định của pháp luật.
2.1. Chương trình quan trắc môi trường định kỳ
3. Kinh phí thực hiện quan trắc môi trường hằng năm
KẾT QUẢ KIỂM TRA, THANH TRA VỀ BẢO VỆ MÔI TRƯỜNG ĐỐI VỚI CƠ SỞ
CHƯƠNG I
THÔNG TIN CHUNG VỀ CƠ SỞ
1. Tên chủ cơ sở
- Tên Chủ cơ sở: Công ty TNHH Đầu tư ......
- Địa chỉ văn phòng liên hệ: Nghĩa Minh, huyện Nghĩa Hưng, tỉnh Nam Định.
- Người đại diện theo pháp luật của chủ cơ sở: .............;
- Chức vụ: Chủ tịch hội đồng thành viên kiêm Giám Đốc
- Điện thoại: ......;
- Mã số thuế: ......
- Công ty TNHH Đầu tư ...được Phòng đăng ký kinh doanh - Sở Kế hoạch và Đầu tư thành phố Hà Nội cấp Giấy chứng nhận đăng ký doanh nghiệp Công ty trách nhiệm hữu hạn hai thành viên trở lên, có mã số doanh nghiệp và mã số thuế là .... đăng ký lần đầu ngày 23/8/2006, đăng ký thay đổi lần thứ 10 ngày 24/6/2022.
- Giấy chứng nhận đăng ký hoạt động chi nhánh, mã số chi nhánh: ..... đăng ký lần đầu ngày 22 tháng 7 năm 2020.
2. Tên cơ sở
- Tên cơ sở: “Xây dựng nhà máy giấy bao gói thực phẩm, giấy in nhiệt”
- Địa điểm thực hiện: xã Nghĩa Minh, huyện Nghĩa Hưng, tỉnh Nam Định. Cơ sở có diện tích 19.253,5m2 với vị trí tiếp giáp như sau:
+ Phía Nam: Giáp kênh thoát nước, kế tiếp là ruộng lúa xóm 3
+ Phía Tây: Giáp kênh thoát nước, kế tiếp là ruộng lúa xóm 4
+ Phía Đông: Giáp kênh thoát nước, kế tiếp là đường trục phát triển nối vùng kinh tế biển Nam Định với cao tốc Cầu Giẽ Ninh Bình
- Giấy phép môi trường số ..../GPMT-UBND ngày 18/10/2022 do Uỷ ban nhân dân tỉnh Nam Định cấp.
- Giấy phép khai thác, sử dụng nước dưới đất số 325/GP-STNMT ngày 01/07/2022 do Sở Tài nguyên và Môi trường cấp.
- Công ty TNHH Đầu tư .... đã được Sở Xây dựng cấp Giấy phép xây dựng số 29/GPXD ngày 26/05/2020 cho công trình thuộc dự án “Xây dựng nhà máy giấy bao gói thực phẩm, giấy in nhiệt”.
- Công ty TNHH Đầu tư ... đã được Chi cục Giám định xây dựng thuộc Sở Xây dựng ra thông báo Kết quả kiểm tra công tác nghiệm thu hoàn thành hạng mục công trình, công trình xây dựng số 609/CCGĐ-GĐ&ATXD ngày 29/11/2021 cho công trình thuộc dự án “Xây dựng nhà máy giấy bao gói thực phẩm, giấy in nhiệt”.
- Công ty TNHH Đầu tư ... đã được UBND huyện Nghĩa Hưng cấp Giấy phép xây dựng điều chỉnh số 34/GPXD-UBND ngày 15/04/2022 cho công trình thuộc dự án “Xây dựng nhà máy giấy bao gói thực phẩm, giấy in nhiệt”.
- Công ty TNHH Đầu tư .... đã được Chi cục Giám định xây dựng thuộc Sở Xây dựng ra thông báo Kết quả kiểm tra công tác nghiệm thu hoàn thành hạng mục công trình, công trình xây dựng số 111/CCGĐ-GĐ&ATXD ngày 29/04/2022 cho công trình thuộc dự án “Xây dựng nhà máy giấy bao gói thực phẩm, giấy in nhiệt”.
- Quy mô của cơ sở (phân loại dự án theo tiêu chí quy định của pháp luật về đầu tư công): theo khoản 3, điều 9 của Luật Đầu tư công số 39/2019/QH14 ngày 13/06/2019, tổng vốn đầu tư của dự án là 120.000.000.000 đồng nên thuộc dự án công nghiệp nhóm B.
* Thông tin chung về quá trình hoạt động của Cơ sở:
Công ty TNHH Đầu tư .... được thành lập năm 2006 theo Giấy chứng nhận đăng ký doanh nghiệp Công ty cổ phần: Mã số doanh nghiệp .... đăng ký lần đầu ngày 23/08/2006, đăng ký thay đổi lần thứ 11 ngày 06/03/2023 do Phòng đăng ký kinh doanh Sở Kế hoạch và Đầu tư tỉnh Nam Định cấp. Năm 2022, Cơ sở đã được cấp giấy phép môi trường theo quyết định số 1903/GPMT-UBND ngày 18/10/2022 với quy mô công suất: 10.000 tấn/năm (trong đó giấy bao gói thực phẩm 6.000 tấn/năm, giấy in nhiệt 4.000 tấn/năm).
Thị trường dịch vụ thực phẩm là một trong những thị trường phát triển nhanh và kỳ vọng nhất về việc tiêu thụ bao bì giấy. Với tốc độ phát triển mạnh thì tiềm năng cho bao bì giấy phát triển trong thời gian tới. Nhận thức của người tiêu dùng ngày càng cao và họ ưu tiên lựa chọn bao bì xanh trong tiêu dùng nhằm bảo vệ sức khoẻ của bản thân, gia đình và cải thiện môi trường sống. Việc hạn chế bao bì nilon, nhựa và sự kiểm soát chặt chẽ nhằm nỗ lực tạo nên môi trường sống lành mạnh đã một phần thúc đẩy công nghiệp sản xuất bao bì giấy ngày càng phát triển. Nắm bắt được xu thế xã hội kèm theo thời gian gần đây Cơ sở đã nhận được những đơn hàng mới. Cơ sở đã quyết định tăng công suất từ 10.000 tấn sản phẩm/năm lên 25.000 tấn sản phẩm/năm. Đối với vấn đề này, Cơ sở cũng đã có văn bản số 6723/CV/SKHDT/LG ngày 06/7/2023 gửi Sở Kế hoạch và Đầu tư về việc hướng dẫn cơ sở tăng quy mô công suất có phải điều chỉnh chủ trương đầu tư không. Sở Kế hoạch và Đầu tư đã có công văn số 1836/SKH&ĐT-QLN ngày 17/7/2023 về việc trả lời Công ty TNHH đầu tư.... thì Cơ sở không phải thực hiện điều chỉnh chấp thuận chủ trương đầu tư khi điều chỉnh dự án đầu tư Căn cứ Khoản 3, Điều 44 luật bảo vệ môi trường năm 2020 và mục số 3 cột 4 Phụ lục II và mục 1 Phụ lục IV ban hành kèm theo Nghị định số 08/2022/NĐ-CP ngày 10 tháng 01 năm 2022 của Chính phủ quy định chi tiết một số điều của Luật Bảo vệ môi trường thì cơ sở thuộc đối tượng lập Báo cáo đề xuất cấp Giấy phép môi trường trình Sở Tài nguyên và môi trường tỉnh Nam Định tổ chức thẩm định và trình Ủy ban nhân dân tỉnh Nam Định cấp phép.
3. Công suất, công nghệ, sản phẩm sản xuất của cơ sở
3.1. Công suất của cơ sở
Trong quá trình hoạt động, cơ sở nhận thấy việc sản xuất giấy in nhiệt không hiệu quả nên cơ sở chỉ tập trung vào sản xuất giấy bao gói thực phẩm và giấy làm cốc.
|
TT |
Chủng loại sản phẩm |
Công suất |
|
|
GĐ hiện tại |
GĐ hoạt động tối đa |
||
|
1 |
Giấy bao gói thực phẩm |
333 tấn/tháng |
833 tấn/tháng |
|
2 |
Giấy làm cốc |
500 tấn/tháng |
1.250 tấn/tháng |
|
Tổng cộng |
833 tấn/tháng |
2.083 tấn/tháng |
|
|
Công suất tối đa tương đương |
~ 25.000 tấn/năm |
||
3.2. Công nghệ sản xuất của cơ sở
Trong thời gian tới, Cơ sở chỉ tiến hành tăng công suất sản xuất, về phần công nghệ sản xuất và thiết bị không thay đổi so với ban đầu.
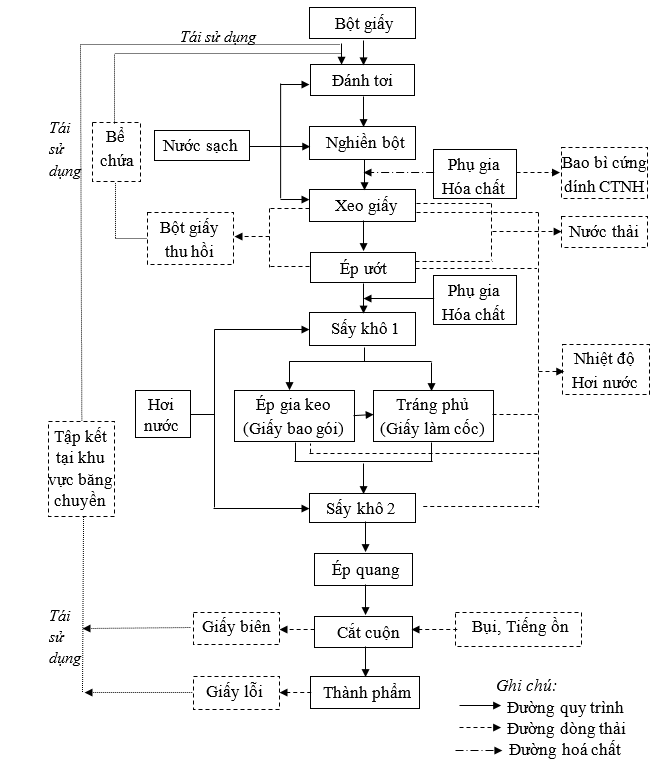
Sơ đồ 1: Quy trình công nghệ sản xuất của cơ sở
Thuyết minh quy trình:
Nguyên liệu bột giấy được đưa vào bể thủy lực để phối trộn với nước và đánh tơi ở nồng độ khoảng 5%. Bộ phận chính của bể thủy lực là roto hình cánh quạt tạo ra sự chuyển động theo dòng xoáy tuần hoàn. Tại đây, hỗn hợp bột giấy – nước chuyển động làm cho các bó xơ sợi bị lực cơ giới ma sát mà bung ra. Sau khi được đánh tơi tới dạng huyền phù vừa vặn có thể dùng bơm để vận chuyển, huyền phù được bơm sang tháp bột thô để điều chỉnh đến nồng độ 3,3 ÷ 3,5 % trước khi bơm vào máy nghiền.
Công đoạn nghiền bột sử dụng nước kết hợp với các lực cơ học: cuộn, uốn, xoắn, kéo, nén để tác động trực tiếp lên xơ sợi cellulo. Một số liên kết giữa các xơ sợi bị đứt, thay thế bằng các liên kết giữa nước – xơ sợi. Hỗn hợp bột giấy – nước phối trộn với nhau ở dạng huyền phù trở nên mềm mại hơn. Sau khi đạt độ nghiền yêu cầu, hỗn hợp nguyên liệu được bơm toàn bộ sang tháp xeo.
Để kiểm soát quá trình xeo giấy, hóa chất và phụ gia được bổ sung theo yêu cầu kỹ thuật của từng loại sản phẩm trước khi vào máy xeo. Đồng thời, nước cũng được bổ sung để điều chỉnh hỗn hợp nguyên liệu đến nồng độ 2,3 ÷ 2,5 %.
Máy xeo giấy thiết kế tạo hình thành băng giấy khô từ hỗn hợp nguyên liệu với chiều ngang theo khổ máy và chiều dài vô tận liên tục. Tại đây, hỗn hợp nguyên liệu được phun qua một khe mỏng lên chuyền động (bàn lưới). Trên bàn lưới, nước sẽ bắt đầu thoát ra khỏi hỗn hợp và băng giấy được hình thành ở dạng lớp giấy mỏng. Lớp giấy mỏng và ướt này sẽ được cho chạy qua 03 cặp ép hình con lăn để ép phần nước còn lại ra khỏi giấy (khoảng 50%), đồng thời làm tăng độ bền cơ lý của giấy như tăng liên kết của các xơ sợi, tăng độ nhẵn, giảm độ xốp, giảm tiêu hao nhiệt lượng trong quá trình sấy. Quá trình này phát sinh nước thải có chứa xơ sợi cellulo làm tăng hàm lượng TSS, BOD5, COD. Sau khi bơm nước thải lên thiết bị sàng nghiêng, bột giấy thu hồi được sẽ cùng với giấy biên và giấy lỗi thải (phát sinh tại khâu hoàn thiện sản phẩm) quay lại bể thuỷ thực, tái tục tham gia quá trình sản xuất.
Băng giấy tiếp tục di chuyển vào bộ phận sấy của máy xeo, đi qua hệ thống trục lăn bằng kim loại. Tại đây các lô sấy làm nóng bởi hơi nước được cấp từ lò hơi công suất 10 tấn hơi/h (tổ sấy 1 sử dụng lô sấy mặt được mạ crom mục đích là để giấy chống bám dính nhằm mục đích cải thiện tính đồng nhất của giấy theo bề dày của giấy) để làm khô giấy cho đến khi lượng nước trong giấy còn 5 – 8%. Lượng hơi nước được hút bởi quạt hút ly tâm theo đường đường ống dẫn D1.200 để thoát ra ngoài môi trường.
Để tăng độ bóng, độ dai, độ mịn bề mặt giấy, băng giấy được đưa vào bộ phận gia keo bề mặt (đối với giấy bao gói thực phẩm) hoặc được đưa qua bộ phận máy tráng phủ (đối với giấy làm cốc). Mục đích của công đoạn này là làm cho giấy có khả năng kỵ nước, có thể chống lại sự xâm nhập của dịch thể.
Sau khi xử lý bề mặt, băng giấy di chuyển tới hệ thống sấy sau (tổ sấy 2). Khi giấy đã đạt đến khô không đổi, trong giấy chỉ còn lại lượng nước liên kết sâu trong các xơ sợi, băng giấy được dẫn sang phần cuối cùng của bộ phận sấy là lô lạnh. Nhiệm vụ của lô này là làm giảm nhiệt độ của băng giấy, làm cho nó trở nên mềm mại trước khi di chuyển đến bộ phận ép quang. Máy ép quang gồm các lô quay tiếp xúc với nhau sẽ đảm bảo độ đồng đều, độ nhẵn bóng bề mặt, làm tăng độ bền kéo, độ chịu bục và thấm khí của giấy.
Bộ phận cuộn là bộ phận cuối cùng của máy xeo. Nó bao gồm một lõi cuộn đường kính nhỏ đặt nằm song song và tì lên một lô cuộn đường kính lớn. Băng giấy sẽ được luồn qua khe ép giữa lõi cuộn và lô cuộn rồi tự động cuốn liên tục vào lõi. Tại đây, cuộn giấy cũng được cắt thành những cuộn giấy thành phẩm có khổ giấy to, nhỏ tùy theo đơn đặt hàng. Khi đường kính cuộn giấy thành phẩm đạt kích thước, cuộn giấy được cẩu ra ngoài và lõi mới được thay vào tiếp tục công đoạn cuộn.
* Quy trình tái sử dụng bravia thừa, giấy lỗi
Đối với giấy biên, giấy lỗi hỏng,… khi gặp nước sẽ tự rã nên không cần phải tiến hành băm nhỏ mà sẽ đưa trực tiếp vào bể thuỷ lực cùng với bột giấy thu hồi từ công đoạn XEO và công đoạn ép ướt để làm nguyên liệu đầu vào, tiếp tục tham gia vào quá trình sản xuất nên Cơ sở thu gom tập kết giấy biên, giấy lỗi tại khu vực băng chuyền để phục vụ cho công đoạn sản xuất.
Do các bó xơ sợi cenllulo trong thành phần giấy biên, giấy lỗi hỏng và bột giấy thu hồi đã được bung ra khi trải qua quá trình đánh tơi bột giấy trong chu trình sản xuất trước đó nên việc tái sử dụng còn có ý nghĩa góp phần giảm tiêu hao năng lượng và rút ngắn thời gian đánh tơi, phối trộn nguyên liệu tại bể thuỷ lực.
3.3. Sản phẩm của cơ sở.
Sản phẩm của cơ sở là: các sản phẩm như giấy bao gói thực phẩm và giấy làm cốc sau khi nâng công suất là 25.000 tấn sản phẩm/năm như sau:
|
TT |
Chủng loại sản phẩm |
Định mức |
Công suất/tháng |
|||
|
Định lượng (G/m2) |
Khổ giấy (mm) |
Độ dầy (mm) |
Độ ẩm (%) |
|||
|
1 |
Giấy bao gói thực phẩm |
70-300 |
1.150 |
0,25 ÷ 1 |
≤ 9% |
833 tấn/tháng |
|
2 |
Giấy làm cốc |
180-400 |
1.150 |
≤ 9% |
1.250 tấn/tháng |
|
4. Nguyên liệu, nhiên liệu, vật liệu, phế liệu, điện năng, hóa chất sử dụng, nguồn cung cấp điện, nước của cơ sở
4.1. Nguyên, phụ liệu, hóa chất sử dụng
Bảng 1: Tổng hợp nhu cầu nguyên, vật liệu, hóa chất sử dụng
|
TT |
Nguyên liệu, phụ gia |
Đơn vị |
Mức tiêu thụ |
|
|
GĐ hiện tại |
GĐ hoạt động tối đa |
|||
|
I |
Nguyên liệu chính |
|
|
|
|
1 |
Bột giấy |
Tấn/tháng |
815 |
1.800 |
|
II |
Hóa chất và phụ gia |
|||
|
1 |
Tinh chất bột sắn |
Tấn/tháng |
35 |
87,5 |
|
2 |
Chất chống thấm bề mặt |
Tấn/tháng |
2,5 |
6,25 |
|
3 |
Bột đá |
Tấn/tháng |
85 |
210 |
|
4 |
Chất trợ bảo lưu |
Tấn/tháng |
0,1 |
0,25 |
|
5 |
Các hoá chất phụ gia đặc thù khác |
Tấn/tháng |
0,1 |
0,25 |
|
Tổng cộng |
Tấn/tháng |
937,7 |
2.104,25 |
|
Nguồn cung cấp nguyên vật liệu phục vụ sản xuất: Nguyên liệu chính bao gồm bột giấy sợi ngắn, sợi dài tẩy trắng được nhập khẩu từ Canada, Mỹ và Newzeland. Đối với phụ gia, hóa chất, Cơ sở mua tại thị trường trong nước. Nguồn cung cấp vật tư nguyên, nhiên liệu và hóa chất luôn ổn định, kịp thời đem lại hiệu quả cao.
Bảng 2: Tổng hợp nhiên liệu, hóa chất sử dụng
|
TT |
Nhiên liệu, hóa chất |
Đơn vị |
Mức tiêu thụ |
|
|
GĐ hiện tại |
GĐ hoạt động tối đa |
|||
|
1 |
Dầu máy |
Lít/năm |
200 |
500 |
|
2 |
Dầu DO (sử dụng cho xe nâng, máy phát điện) |
Lít/năm |
653 |
1.632,5 |
|
3 |
* Hóa chất sử dụng cho xử lý nước thải, nước ngầm - NaOH - PAC - Polymer |
Kg/tháng Lít/tháng Kg/tháng |
80 240 200 |
200 600 600 |
|
4 |
Chế phẩm vi sinh |
Kg/tháng |
30 |
75 |
|
5 |
Ca(OH)2 |
Kg/tháng |
60 |
150 |
|
6 |
Mùn cưa (sử dụng cho lò hơi) |
Tấn/tháng |
120 |
300 |
|
7 |
Gas (sử dụng nấu ăn) |
Kg/tháng |
192 |
192 |
4.2. Nhu cầu sử dụng nước
a, Hệ thống cấp nước:
Nguồn nước sử dụng cho hoạt động sản xuất cũng như hoạt động sinh hoạt của CBCNV tại nhà máy được lấy từ 2 nguồn như sau:
+ Nguồn nước ngầm được khai thác tại khu vực nhà máy: Nước ngầm sau khi được xử lý đạt QCVN 01-1:2018/BYT – Quy chuẩn kỹ thuật quốc gia về chất lượng nước sinh hoạt sẽ được cấp cho hoạt động sinh hoạt của công nhân và hoạt động sản xuất của nhà máy.
+ Nguồn nước tái sử dụng từ hoạt động sản xuất và tái sử dụng nước thải sau xử lý: Trong quá trình sản xuất của nhà máy sẽ phát sinh nước thải từ các công đoạn sử dụng nước, tùy vào từng công đoạn sản xuất mà nước sau xử lý được tái sử dụng.
b, Lượng nước sử dụng:
- Nguồn cung cấp nước:
Nguồn cung cấp nước cho hoạt động của cơ sở được lấy từ nguồn nước ngầm được khai thác tại khu vực cơ sở. Cơ sở đã được Sở Tài nguyên và Môi trường và được cấp giấy phép khai thác sử dụng nước dưới đất số 325/GP-STNMT ngày 01/7/2022 với công suất khai thác tối đa là 960 m3/ngày.
Nước dưới đất được xử lý trước khi sử dụng theo quy trình cơ bản như sau:
1. Giếng khoan khai thác
Giếng khoan khai thác gồm 04 giếng có chiều sâu 110m. Nước lấy lên là nước ở Tầng chứa nước lỗ hổng neogen nên chất lượng nước bị chi phối về đặc điểm thạch học, khả năng chứa nước của tầng trầm tích này.
Giếng khoan được lắp đặt 04 máy bơm chìm tương ứng với 04 giếng có công suất 10m3/h. Máy bơm được kết nối với hệ thống phao báo hiệu, tùy thuộc vào mực nước chứa trong bể chứa cao hay thấp, nó sẽ tác động lên chiếc phao và sẽ truyền tín hiệu cho máy bơm để quyết định việc bơm hoạt động hay ngừng hoạt động.
2. Bể chứa nước ngầm trước xử lý
Nước giếng khoan (nước ngầm) từ 04 giếng được bơm chìm hút và dẫn về bể chứa nước trước xử lý có thể tích là 161 m3 (11,5mx3,5mx4m). Nước từ bể chứa được máy bơm bơm lên hệ thống xử lý nước cấp được thiết kế bên trên bể chứa nước trước xử lý. Hệ thống xử lý nước cấp bao gồm hệ thống 02 bồn lọc đa tầng có quy trình công nghệ như sau:
3. Hệ thống bồn lọc đa tầng.
Nước từ bể chứa nước trước xử lý được bơm lọc đẩy qua hệ cột lọc composite 1 và 2. Bình áp lực thứ nhất chứa lớp đệm sỏi và cát thạch anh, hạt mim, trên cùng là lớp quặng Mn02. Nước qua bình này được khử Mangan, sắt và các tạp chất khác. Nước thu được ở khoang dưới đáy bình lọc.
Nước từ bình áp lực composite thứ nhất tiếp tục chảy sang bình áp lực composite thứ hai có chứa than hoạt tính, than hoạt tính có tác dụng khử màu, mùi và loại bỏ triệt để một số thành phần ô nhiễm khác trong nước.
Tại quá trình lọc áp lực, nước được trao đổi ion, loại bỏ tối đa các cation kim loại và các cation ( ở đây chủ yếu là Cl- ) Qúa trình trao đổi diễn ra làm 2 cấp:
+ Cấp I: Bình composite cation cấp I dùng hạt nhựa có gốc R-H tại đây quá trình trao đổi H+ của hạt nhựa và cation kim loại trong nước, bình composite anion cấp I dùng hạt nhựa có gốc R-OH trao đổi gốc OH- của hạt nhựa và các anion gốc axit trong nước ( ở đây chủ yếu là Cl- ).
+ Cấp II: Nước sau quá trình trao đổi ion khử các ion kim loại và Cl- trong nước được dẫn sang bình composite cấp II cũng dùng hạt nhựa có gốc R-H tại đây quá trình trao đổi gốc H+ của hạt nhựa và các cation kim loại trong nước và bình composite cấp II hạt nhựa có gốc R-OH trao đổi. Sau quá trình trao đổi cấp II, nước đạt tiêu chuẩn QC 02/2009 BYT của Bộ Y tế quy định về nước cấp cho sinh hoạt.
Bơm lọc có 2 bơm được cài đặt chạy luân phiên nhau. Để bật chế độ luân phiên, bật đồng thời 2 công tắc điều khiển bơm 1 và 2 ở chế độ tự động . Ở chế độ tự động bơm lọc vận hành tự động theo tín hiệu điều khiển từ phao báo cạn ở bồn chứa inox và phao báo đầy từ bể chứa nước sạch.
* Bể chứa
Là bể lưu giữ nước sau khi đã xử lý xong việc loại bỏ sắt, cặn lơ lửng, mùi, màu của nước và được bổ sung thêm Cloramin B để xử lý các vi sinh vật gây bệnh. Chức năng của bể là chứa nước dự trữ nước sạch để cấp cho sản xuất và sinh hoạt khi có nhu cầu. Bể chứa nước của Nhà máy được xây dựng bằng bê tông có kích thước là (15,75m x 11,5m x 4m) với thể tích lưu chứa khoảng 725m3.
Ngoài ra, Cơ sở còn đầu tư hệ thống làm mềm nước để cấp cho lò hơi công suất 10m3/h

Nước cấp được bơm áp đẩy qua quá trình lọc trao đổi ion (áp suất đầu vào nên đạt được 1.5 – 2.5 bar) đưa vào cột lọc chứa hạt nhựa trao đổi ion, thông qua quá trình trao đổi ion để loại bỏ những tạp chất gây ra độ cứng: Canxi, magie … trong nước. Sau một thời gian hoạt động, Cơ sở dùng dung dịch muối tinh khiết để tái sinh hạt nhựa trao đổi ion (bổ sung ion Na+).
- Lượng nước cấp phục vụ sinh hoạt:
Căn cứ vào nhật ký theo dõi khai thác nước ngầm (đính kèm trong phụ lục) của Cơ sở trong năm 2022 đến tháng 9/2023 cho thấy:
|
STT |
Thời điểm |
Lượng nước sử dụng |
STT |
Thời điểm |
Lượng nước sử dụng |
||
|
m3/tháng |
m3/ngày |
m3/tháng |
m3/ngày |
||||
|
1 |
Tháng 10/2022 |
6.157 |
236 |
7 |
Tháng 4/2023 |
9.410 |
361 |
|
2 |
Tháng 11/2022 |
9.928 |
381 |
8 |
Tháng 5/2023 |
9.557 |
367 |
|
3 |
Tháng 12/2022 |
5.709 |
219 |
9 |
Tháng 6/2023 |
11.520 |
443 |
|
4 |
Tháng 1/2023 |
3.104 |
119 |
10 |
Tháng 7/2023 |
10.866 |
417 |
|
5 |
Tháng 2/2023 |
10.806 |
415 |
11 |
Tháng 8/2023 |
8.693 |
334 |
|
6 |
Tháng 3/2023 |
9.320 |
358 |
12 |
Tháng 9/2023 |
9.949 |
382 |
Căn cứ vào bảng thống kê lượng nước sử dụng cho thấy:
- Tháng cao nhất (tháng 6/2023): 11.520m3/tháng hay 443m3/ng.đ
- Tháng thấp nhất (tháng 1/2023): 3.104m3/tháng hay 119m3/ng.đ.
Lượng nước trên là lượng nước Cơ sở khai thác nước ngầm về trạm xử lý nước cấp. Trên thực tế, hàng tháng cơ sở có hút nước ngầm để dự trữ tại ngăn chứa nước (ngăn sự cố được chia thành 4 ngăn riêng biệt gồm: ngăn chứa nước ngầm dự trữ, ngăn chứa nước PCCC, ngăn chứa nước sau xử lý, ngăn sự cố chứa nước thải có thể tích 853 m3/ngăn) tránh trường hợp có ngày không khai thác được nước ngầm gây gián đoạn cho việc sản xuất với khối lượng khoảng 3.000 m3/tháng. Vậy lượng nước cấp cho quá trình hoạt động sản xuất của Cơ sở vào tháng cao nhất là 8.520 m3/tháng ≈ 327,6 m3/ngày đêm. Tuy nhiên, Cơ sở đang hoạt động nên lượng nước trên chỉ là lượng nước bổ sung cho hoạt động sản xuất của cơ sở.
Căn cứ theo thực tế hoạt động sản xuất công suất hiện nay của Cơ sở thì lượng nước cấp cho từng công đoạn được ước tính như sau:
* Nước cấp sinh hoạt:
- Tổng số CBCNV của cơ sở là 60 người vậy lượng nước cấp sinh hoạt tối đa của cơ sở là: 60 người × 100 lít/người = 6.000 lít = 6 m3/ngày.
* Lượng nước cấp cho hoạt động sản xuất:
Quá trình sản xuất cơ sở sử dụng nước cho các quá trình sau: quá trình đánh tơi, nghiền bột giấy; quá trình đánh tơi, làm mịn; quá trình phun rửa chăn, lưới; quá trình vận hành lò hơi và xử lý khí thải lò hơi. Trong đó:
Đối với giai đoạn hiện tại cơ sở đang hoạt động 100% công suất là 10.000 tấn sản phẩm/năm ≈ 30 tấn sản phẩm/ngày. Giai đoạn hoạt động tối đa công suất của cơ sở là 25.000 tấn sản phẩm/ năm ≈ 75 tấn sản phẩm/ngày.
- Quá trình đánh tơi, nghiền bột giấy:
Căn cứ theo số liệu từ hoạt động sản xuất thực tế với cho thấy. Khối lượng nước cần cung cấp cho quá trình này khoảng 5 m3/1 tấn sản phẩm.
+ Giai đoạn hiện tại: Lượng nước cần cấp cho quá trình này là: 30 tấn × 5m3/tấn = 150 m3/ngày.
+ Giai đoạn hoạt động tối đa: Lượng nước cần cấp cho quá trình này là: 75 tấn × 5m3/tấn = 375 m3/ngày.
- Quá trình đánh tơi, làm mịn:
Trong quá trình đánh tơi, nghiền bột, nước liên tục được cấp bổ sung để bù lại cho lượng nước bay hơi, thất thoát trong quá trình sản xuất. Nước cấp bổ sung để bù lại cho lượng nước bay hơi, thất thoát trong quá trình sản xuất: Cứ sản xuất sẽ hao hụt tối đa là 10 m3 nước/1 tấn sản phẩm.
+ Giai đoạn hiện tại: Lượng nước cần cấp cho quá trình này là: 30 tấn × 10 m3/tấn = 300 m3/ngày.
+ Giai đoạn hoạt động tối đa: Lượng nước cần cấp cho quá trình này là: 75 tấn × 10 m3/tấn = 750 m3/ngày.
+ Hoạt động phun rửa chăn, lưới:
Căn cứ sản xuất thực tế nước sử dụng phun rửa chăn lưới là nước qua nhiều công đoạn xử lý và làm sạch với lượng sử dụng khoảng 5m3 nước/ 1 tấn sản phẩm.
+ Giai đoạn hiện tại: Lượng nước cần cấp cho quá trình này là: 30 tấn × 5 m3/tấn = 150 m3/ngày.
+ Giai đoạn hoạt động tối đa: Lượng nước cần cấp cho quá trình này là: 75 tấn × 5 m3/tấn = 375 m3/ngày.
+ Hoạt động của hệ thống xử lý bụi, khí thải lò hơi:
Tại khu vực lò hơi có sử dụng hệ thống làm mềm nước công suất 10m3/h để cấp cho quá trình làm hơi. Lượng nước cấp cho ngày đầu là 240 m3. Từ ngày hoạt động thứ tiếp theo, hơi nước sau khi qua các lô sấy 1 phần bị thất thoát ra ngoài, 1 phần nước sau khi đã làm nóng các lô sấy bị tác động bởi nhiệt độ bên ngoài sẽ ngưng tụ thành nước. Lượng nước này sẽ được hồi lại lò hơi để tiếp tục sử dụng. Lượng nước cấp ngày tiếp theo bằng lượng nước bay hơi ra ngoài khoảng 30 m3/ngày.
+ Hoạt động của hệ thống xử lý khí thải lò hơi: lượng nước cấp cho hoạt động này khoảng 2 m3.
+ Hoạt động rửa lọc của hệ thống xử lý nước ngầm (tần suất 3 tháng/lần): Lượng nước cấp hoạt động này vào khoảng 5 m3/lần.
+ Lượng nước sử dụng để tưới cây khoảng 6 lít/m2 (tính vào những ngày nắng nóng). Tổng diện tích cây xanh theo mặt bằng quy hoạch của cơ sở là 4.056 m2 (21,1%) thì lượng nước sử dụng cho hoạt động tưới cây xanh tối đa là: 4.056 m2 × 6 lít/m2 = 24.336 lít/ngày ≈ 24,3 m3/ngày.
+ Nước dự phòng cho hoạt động phòng cháy chữa cháy khoảng 50m3. Tuy nhiên, lượng nước này không sử dụng thường xuyên chỉ dùng vào khi Cơ sở có sự cố.
>>> XEM THÊM: Thuyết minh lập dự án nhà máy chế biến nông sản công nghệ cao

CÔNG TY CP TƯ VẤN ĐẦU TƯ & THIẾT KẾ XÂY DỰNG MINH PHƯƠNG
Địa chỉ: Số 28B Mai Thị Lựu, Phường Đa Kao, Q.1, TPHCM
Hotline: 0903649782 - (028) 3514 6426
Email: nguyenthanhmp156@gmail.com


Xem thêm