Nội dung cấp giấy phép môi trường nhà máy sản xuất bánh kẹo
Nhà máy sản xuất bánh kẹo socola các loại quy mô 2.000 tấn sản phẩm/năm tỉnh Đồng Nai. Dịch vụ xin giấy phép môi trường.
HỒ SƠ ĐỀ NGHỊ CẤP GIẤY PHÉP MÔI TRƯỜNG VÀ BÁO CÁO ĐÁNH GIÁ TÁC ĐỘNG MÔI TRƯỜNG DỰ ÁN NHÀ MÁY SẢN XUẤT BÁNH KẸO SOCOLA CÔNG SUẤT 2.000 TẤN/NĂM – TỈNH ĐỒNG NAI
Ngành công nghiệp sản xuất bánh kẹo đang giữ vai trò quan trọng trong nền kinh tế thực phẩm Việt Nam, khi nhu cầu tiêu thụ các sản phẩm dinh dưỡng – giải trí ngày càng tăng. Trong đó, socola và các sản phẩm chế biến từ socola được đánh giá là phân khúc phát triển mạnh mẽ, có tính cạnh tranh cao và giá trị xuất khẩu lớn. Để đáp ứng nhu cầu thị trường, nhiều doanh nghiệp đã đầu tư các nhà máy sản xuất bánh kẹo socola quy mô lớn, ứng dụng công nghệ hiện đại, quy trình khép kín và tiêu chuẩn vệ sinh thực phẩm quốc tế.
Bên cạnh yếu tố kinh tế, hoạt động sản xuất công nghiệp thực phẩm phải đi kèm trách nhiệm bảo vệ môi trường. Luật Bảo vệ môi trường 2020 quy định các dự án sản xuất công nghiệp quy mô từ vài nghìn tấn/năm phải lập Hồ sơ đề nghị cấp Giấy phép môi trường và Báo cáo đánh giá tác động môi trường (ĐTM) trước khi vận hành. Đây là cơ sở pháp lý nhằm kiểm soát chất thải phát sinh, đảm bảo dự án vận hành an toàn, bền vững và phù hợp với quy hoạch phát triển công nghiệp của địa phương.
Dựa trên yêu cầu đó, bài viết này phân tích chi tiết nội dung của hồ sơ GPMT và ĐTM đối với nhà máy sản xuất bánh kẹo socola các loại công suất 2.000 tấn/năm tại tỉnh Đồng Nai, thuộc nhóm B theo phân loại dự án đầu tư công (Nghị định 40/2020/NĐ-CP). Nội dung được trình bày theo văn phong khoa học – thực tiễn, phù hợp đăng tải trên website, tạp chí chuyên ngành môi trường và công nghiệp thực phẩm.
2. Tổng quan dự án đầu tư
2.1. Quy mô và nhóm dự án đầu tư
Theo Mục III, Phần B, Phụ lục I, Nghị định 40/2020/NĐ-CP, dự án có tổng vốn đầu tư 329 tỷ đồng thuộc nhóm B của dự án đầu tư công. Đây là nhóm dự án có quy mô vừa, đòi hỏi thực hiện đầy đủ các thủ tục môi trường và kỹ thuật liên quan trước khi triển khai xây dựng và vận hành.
2.2. Công suất và mục tiêu đầu tư
- Công suất thiết kế: 2.000 tấn sản phẩm/năm.
- Sản phẩm chính: socola nguyên chất, socola thanh, socola phủ, socola dạng viên, socola hương vị và các loại bánh kẹo có thành phần socola.
- Mục tiêu đầu tư: hình thành nhà máy hiện đại, khép kín, cung cấp sản phẩm chất lượng cao cho thị trường trong nước và hướng tới xuất khẩu.
2.3. Công nghệ sản xuất và mức độ hiện đại
Công nghệ sản xuất của dự án được đánh giá là tiên tiến, áp dụng tự động hóa cao:
- Các công đoạn chính như trộn nguyên liệu, nghiền mịn, khuấy nhiệt, ủ socola, ủ hạt cacao, tempering socola, rót khuôn, làm nguội… đều vận hành hoàn toàn tự động.
- Chỉ hai công đoạn cuối gồm nạp liệu ban đầu và đóng gói thành phẩm được thực hiện thủ công.
- Socola lỏng được kiểm soát nhiệt độ bằng hệ thống bồn trộn chuyên dụng, đảm bảo không biến đổi cấu trúc trong suốt quy trình.
- Đường ống dẫn socola lỏng được thiết kế khép kín, cách nhiệt và có cảm biến theo dõi liên tục.
Công nghệ này giúp hạn chế tối đa phát sinh chất thải, đảm bảo vệ sinh an toàn thực phẩm và giảm thiểu nguy cơ ô nhiễm môi trường.
3. Quy trình công nghệ sản xuất socola
Quy trình sản xuất của nhà máy gồm các bước cơ bản sau:
3.1. Chuẩn bị nguyên liệu
Nguyên liệu chính bao gồm:
- Hạt cacao hoặc cacao mass nhập khẩu.
- Đường, bơ cacao, sữa bột, bột vani.
- Phụ gia tự nhiên và các loại nguyên liệu bổ sung cho bánh kẹo.
Nguyên liệu được kiểm tra chất lượng, loại bỏ tạp chất và cân định lượng theo công thức sản xuất.
3.2. Nghiền – trộn – tinh luyện
- Hỗn hợp cacao, đường và bơ cacao được nghiền mịn theo mức độ chuẩn hóa.
- Quá trình tinh luyện giúp socola đạt độ mịn yêu cầu (15–20 micron).
3.3. Khuấy và giữ nhiệt
Socola lỏng được khuấy liên tục trong bồn trộn chuyên dụng, nhiệt độ dao động từ 40–60°C tùy sản phẩm. Đây là giai đoạn quan trọng quyết định chất lượng cuối cùng.
3.4. Quá trình tempering
Tempering giúp ổn định tinh thể bơ cacao:
- Giảm nhiệt độ socola xuống mức xác định.
- Khuấy đều và đưa socola trở lại nhiệt độ rót khuôn.
Quy trình này hoàn toàn tự động với độ chính xác cao.
3.5. Rót khuôn – định hình
Socola được rót vào khuôn, rung lắc nhằm loại bỏ khí và đảm bảo bề mặt mịn. Sau đó, khuôn được đưa vào buồng làm lạnh.
3.6. Đóng gói sản phẩm
Thành phẩm được lấy khỏi khuôn, phân loại, kiểm tra chất lượng và đóng gói thủ công hoặc bán tự động.
4. Nguồn phát sinh chất thải và đánh giá tác động môi trường
4.1. Nước thải
Nước thải chủ yếu phát sinh từ:
- Rửa thiết bị, vệ sinh bồn trộn và đường ống.
- Lau sàn, vệ sinh khu vực sản xuất.
- Nước thải sinh hoạt của công nhân.
Tính chất nước thải:
- Chứa dầu mỡ, hữu cơ hòa tan, đường, bột cacao.
- BOD – COD ở mức trung bình.
- Không chứa hóa chất độc hại.
4.2. Khí thải – hơi nóng
Khí thải phát sinh từ:
- Lò hơi (nếu sử dụng).
- Quá trình xay nghiền nguyên liệu.
- Các thiết bị gia nhiệt.
Thành phần khí thải: CO₂, hơi nước, bụi cacao, mùi nhẹ từ socola.
4.3. Chất thải rắn
Gồm:
- Bao bì nguyên liệu, thùng carton.
- Bột thải từ quá trình sàng lọc.
- Bùn thải từ hệ thống xử lý nước thải.
- Rác sinh hoạt.
Chất thải rắn phần lớn là có khả năng tái chế hoặc tái sử dụng.
4.4. Tiếng ồn
Nguồn tiếng ồn từ máy nghiền, motor bồn khuấy và hệ thống bơm.
5. Công trình xử lý và biện pháp giảm thiểu môi trường
5.1. Xử lý nước thải
Nhà máy cần xây dựng hệ thống xử lý đạt chuẩn:
- Bể tách dầu mỡ.
- Bể điều hòa lưu lượng.
- Bể sinh học hiếu khí – kỵ khí.
- Bể lọc và khử trùng.
Nước thải sau xử lý phải đạt QCVN 40:2011/BTNMT hoặc quy chuẩn địa phương.
5.2. Kiểm soát khí thải
- Lò hơi dùng nhiên liệu sạch (gas, sinh khối).
- Hệ thống cyclon + túi lọc cho bụi cacao.
- Hút hơi nóng và làm mát khu vực gia nhiệt.
5.3. Quản lý chất thải rắn
- Phân loại ngay tại nguồn.
- Bao bì nhựa – giấy bán cho đơn vị tái chế.
- Bùn thải chuyển giao đơn vị có chức năng xử lý.
- Rác thải sinh hoạt thu gom hàng ngày.
5.4. Biện pháp giảm tiếng ồn
- Treo chống rung cho motor.
- Bao che cách âm tại khu nghiền.
- Cây xanh xung quanh tạo màng chắn âm.
6. Phân tích tính phù hợp của công nghệ sản xuất
Công nghệ tự động hóa của dự án có các ưu điểm:
- Tỷ lệ thất thoát nguyên liệu thấp.
- Hạn chế chất thải phát sinh.
- Không sử dụng hóa chất độc hại.
- Quy trình khép kín đảm bảo tiêu chuẩn HACCP, ISO 22000.
Việc lựa chọn công nghệ phù hợp giúp giảm chi phí xử lý môi trường và tăng chất lượng sản phẩm.
7. Đánh giá tác động môi trường tổng hợp
7.1. Tác động tích cực
- Tạo ra khoảng 2.000 tấn socola/năm, phục vụ thị trường.
- Giải quyết việc làm cho lao động địa phương.
- Góp phần chuyển dịch cơ cấu kinh tế Đồng Nai sang công nghiệp chế biến.
- Công nghệ sạch, ít tác động môi trường.
7.2. Tác động tiêu cực (nếu không kiểm soát)
- Nước thải chứa dầu mỡ hữu cơ gây ô nhiễm kênh mương.
- Bụi cacao phát sinh trong nghiền.
- Tiếng ồn ảnh hưởng công nhân.
- Khí thải lò hơi có nguy cơ ảnh hưởng chất lượng không khí.
7.3. Đánh giá tổng quan
Dự án thuộc nhóm có nguy cơ ô nhiễm thấp so với các ngành công nghiệp khác. Với hệ thống xử lý đạt chuẩn, tác động môi trường được kiểm soát hoàn toàn.
8. Chương trình quan trắc môi trường
Nhà máy cần duy trì quan trắc định kỳ:
8.1. Quan trắc nước thải
- COD, BOD, TSS, dầu mỡ, Coliform.
- Tần suất: 3 tháng/lần.
8.2. Quan trắc khí thải
- CO, NOx, SO₂ tại ống khói.
- Bụi tại khu nghiền.
8.3. Quan trắc môi trường lao động
- Nhiệt độ, tiếng ồn, bụi mịn.
- Tần suất: 6 tháng/lần.
9. Kế hoạch phòng ngừa và ứng phó sự cố môi trường
9.1. Sự cố nước thải tràn
- Hệ thống bể sự cố.
- Ngắt vận hành thiết bị rửa.
- Cô lập khu vực và xử lý ngay.
9.2. Sự cố cháy nổ
- Kiểm định định kỳ thiết bị điện.
- Trang bị hệ thống chữa cháy tự động CO₂ và bình bột.
9.3. Sự cố mùi – khí thải
- Kiểm tra định kỳ cyclon, túi lọc.
- Tăng cường thông gió.
Hồ sơ đề nghị cấp Giấy phép môi trường và Báo cáo ĐTM là những tài liệu quan trọng đảm bảo nhà máy sản xuất bánh kẹo socola tại Đồng Nai vận hành hợp pháp, an toàn và bền vững. Với công suất 2.000 tấn sản phẩm/năm, tổng vốn đầu tư 329 tỷ đồng và công nghệ tự động hóa khép kín, dự án đáp ứng tốt tiêu chí dự án công nghiệp hiện đại, tác động môi trường thấp, dễ kiểm soát và phù hợp quy hoạch phát triển công nghiệp của tỉnh.
Khi được triển khai đúng quy định, dự án sẽ mang lại lợi ích lớn về kinh tế – xã hội, đồng thời góp phần xây dựng ngành thực phẩm chế biến chất lượng cao tại Việt Nam.
Nội dung cấp giấy phép môi trường nhà máy sản xuất bánh kẹo
MỤC LỤC
DANH MỤC CÁC TỪ VÀ CÁC KÝ HIỆU VIẾT TẮT
THÔNG TIN CHUNG VỀ DỰ ÁN ĐẦU TƯ
1.3. Công suất, công nghệ, sản phẩm của dự án đầu tư:
1.3.1. Công suất của dự án đầu tư:
1.3.3. Sản phẩm của dự án đầu tư:
1.4.1. Nhu cầu nguyên vật liệu
1.5. Các thông tin khác liên quan đến dự án đầu tư (nếu có):
1.5.1. Xuất sứ của dự án đầu tư:
1.5.2. Căn cứ pháp lý thành lập báo cáo đề xuất cấp Giấy phép môi trường:
1.5.3. Vị trí địa lý của cơ sở :
1.5.4. Mức độ hoàn thành các hạng mục công trình của cơ sở:
SỰ PHÙ HỢP CỦA DỰ ÁN ĐẦU TƯ VỚI QUY HOẠCH, KHẢ NĂNG CHỊU TẢI CỦA MÔI TRƯỜNG
2.2. Sự phù hợp của dự án đầu tư đối với khả năng chịu tải của môi trường (nếu có):
2.2.1. Sự phù hợp của cơ sở đối với khả năng chịu tải của môi trường nước.
2.2.2. Sự phù hợp của cơ sở đối với khả năng chịu tải của môi trường không khí.
ĐÁNH GIÁ HIỆN TRẠNG MÔI TRƯỜNG NƠI THỰC HIỆN DỰ ÁN ĐẦU TƯ
3.1. Dữ liệu về hiện trạng môi trường và tài nguyên sinh vật:
3.2. Mô tả về môi trường tiếp nhận nước thải của dự án:
3.3. Đánh giá hiện trạng các thành phần môi trường đất, nước, không khí nơi thực hiện dự án:
4.2.1. Đánh giá, dự báo các tác động:
4.2.2. Các công trình, biện pháp bảo vệ môi trường đề xuất thực hiện:
4.2.2.1. Biện pháp phòng ngừa, giảm thiểu các tác động tiêu cực từ các nguồn phát sinh nước thải.
4.2.2.2. Biện pháp phòng ngừa, giảm thiểu các tác động tiêu cực từ các nguồn phát sinh khí thải.
4.2.2.3. Biện pháp phòng ngừa, giảm thiểu các tác động tiêu cực từ các nguồn phát sinh chất thải rắn
4.2.2.4. Biện pháp quản lý, phòng ngừa và ứng phó rủi ro, sự cố của dự án
4.3. Tổ chức thực hiện các công trình, biện pháp bảo vệ môi trường
4.4. Nhận xét về mức độ chi tiết, độ tin cậy của các kết quả đánh giá, dự báo:
PHƯƠNG ÁN CẢI TẠO, PHỤC HỒI MÔI TRƯỜNG, PHƯƠNG ÁN BỒI HOÀN ĐA DẠNG SINH HỌC
NỘI DUNG ĐỀ NGHỊ CẤP, CẤP LẠI GIẤY PHÉP MÔI TRƯỜNG
6.1. Nội dung đề nghị cấp phép đối với nước thải (nếu có):
6.2. Nội dung đề nghị cấp phép đối với khí thải (nếu có):
6.3. Nội dung đề nghị cấp phép đối với tiếng ồn, độ rung (nếu có):
7.1. Kế hoạch vận hành thử nghiệm công trình xử lý chất thải của dự án đầu tư:
7.1.1. Thời gian dự kiến vận hành thử nghiệm:
7.2. Chương trình quan trắc chất thải (tự động, liên tục và định kỳ) theo quy định của pháp luật.
7.2.1. Chương trình quan trắc môi trường định kỳ:
7.2.2. Chương trình quan trắc tự động, liên tục chất thải: Không
7.3. Kinh phí thực hiện quan trắc môi trường hằng năm.
ĐTM và giấy phép môi trường , Quy định cấp phép môi trường
Chương I THÔNG TIN CHUNG VỀ DỰ ÁN ĐẦU TƯ
1.1. Tên chủ dự án đầu tư:
1.2. Tên dự án đầu tư:
- Tên dự án đầu tư nhà máy sản xuất bánh kẹo socola các loại quy mô 2.000 tấn sản phẩm/năm
- Địa điểm thực hiện dự án đầu tư: tỉnh Đồng Nai.
- Cơ quan thẩm định thiết kế xây dựng, cấp các loại giấy phép có liên quan đến môi trường của dự án đầu tư: Sở Tài nguyên và Môi trường tỉnh Đồng Nai, Ban quản lý các khu công nghiệp Đồng Nai.
- Quy mô của dự án đầu tư (phân loại theo tiêu chí quy định của pháp luật về đầu tư công): Dự án sản xuất bánh kẹo socola với tổng vốn đầu tư đồng (ba trặm hai mươi chín tỉ). Căn cứ Mục III, phần B, Phụ lục I, Nghị định 40/2020/NĐ-CP ngày 06/04/2020 về phân loại dự án đầu tư công, dự án thuộc nhóm B.
1.3. Công suất, công nghệ, sản phẩm của dự án đầu tư:
1.3.1. Công suất của dự án đầu tư:
Nhà máy sản xuất bánh kẹo socola các loại với quy mô 2.000 tấn sản phẩm/năm.
1.3.2. Công nghệ sản xuất của dự án đầu tư, đánh giá việc lựa chọn công nghệ sản xuất của dự án đầu tư:
Quy trình sản xuất ngoài công đoạn nạp liệu và đóng gói sau cùng là thủ công, các công đoạn còn lại đều được tự động hóa và hoàn toàn khép kín, đảm bảo vệ sinh an toàn thực phẩm. Trong toàn quy trình sản xuất, socola lỏng được kiểm soát nhiệt độ bằng các thiết bị chuyên dụng tại bồn chứa và các đường ống dẫn, đảm bảo quá trình sản xuất diễn ra hoàn toàn tự động, khép kín.
Giấy phép môi trường khu công nghiệp
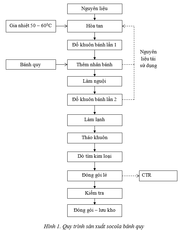
a. Quy trình sản xuất socola bánh quy:
- Thuyết minh quy trình:
- Nguyên liệu: Nguyên liệu sử dụng là socola nguyên chất nguyên khối được nhập từ Singapore và Malaysia.
- Hòa tan: Nguyên liệu được đưa vào bồn hòa tan với cấu tạo bồn gồm hai lớp inox rỗng. Sau khi cho socola vào bồn, tiến hành gia nhiệt gián tiếp bằng cách bơm nước nóng vào giữa 2 lớp của bồn. Nước nóng được gia nhiệt bằng các heater chuyện dụng, gia nhiệt đến 50 – 600C, đảm bảo socola nóng chảy hoàn toàn. Sau khi hòa tan, socola được bơm qua bồn bơm định lượng, tại đây socola được kiểm soát nhiệt độ khoảng 400C để giữ trạng thái lỏng, chuẩn bị cho các công đoạn sau.
Giấy phép xả thải và giấy phép môi trường , Báo cáo De xuất cấp giấy phép môi trường. Giấy phép môi trường dự án nhà máy sản xuất bánh kẹo
- Đổ khuôn bánh lần 1: Socola được bơm định lượng vào khuôn, sau đó dùng thiết bị chuyên dụng rung nhẹ theo chiều ngang để loại bỏ các bọt khí nếu có.
- Thêm nhân bánh: Phần nhân sử dụng là bánh quy meiji dạng cứng, phần nhân bánh được đặt vào giữa khuôn socola lỏng và đưa qua máy ấn nhân để ấn nhân bánh quy vào lớp socola. Sau khi ấn nhân, lớp socola tràn trên bề mặt khuôn sẽ được gạt đều bằng thiết bị gạn. Phần socola lỏng dư được hoàn lưu về bồn bơm định lượng, tái sản xuất hoàn toàn.
- Làm nguội: Sau khi thêm nhân, bánh socola dược đưa qua thiết bị làm nguội ở nhiệt độ khoảng 200C nhằm cố định vị trí nhân bánh quy.
- Đổ khuôn bánh lần 2: Đổ socola lên mặt dưới của bánh bằng máy bơm tự động sau đó vỗ và rung theo chiều ngang để loại bỏ các bọt khí. Sau đó gạt socola đều trên bề mặt bằng máy gạn chuyện dụng. Phần socola dư được hoàn lưu về bồn bơm định lượng, tái sản xuất hoàn toàn.
- Làm nguội: Bánh socola sau khi đổ khuôn lần 2 được đưa qua máy làm lạnh sau cùng, làm lạnh ở nhiệt độ 50C.
- Tháo khuôn: Sau khi làm lạnh, socola sẽ đông lại, tiến hành trút socola ra khỏi khuôn và kiểm tra trực quan.
- Dò kim loại: Bánh socola được đưa qua máy dò kim loại để kiểm tra việc có lẫn kim loại trong bánh hay không.
- Đóng gói lẻ: Các bánh socola được đóng gói riêng lẻ từng miếng bằng giấy nhôm và giấy bóng kính.
- Kiểm tra: Kiểm tra việc rút giấy của máy đóng gói lẻ bằng các camera.
- Đóng gói – lưu kho: Xếp socola vào túi bóng, hàn nhiệt, overlap hoăc hút chân không, đóng thùng giấy và lưu kho chờ xuất bán. Giấy phép môi trường, Quy định môi về giấy phép môi trường
b. Quy trình sản xuất socola hạnh nhân:
Quy trình sản xuất bánh socola hạnh nhân tương tự như quy trình sản xuất socola bánh quy. Trong quy trình này, nhân bánh được thay thế bằng hạnh nhân thành phẩm. Quy trình sản xuất cụ thể như sau:
Hình 2. Quy trình sản xuất socola hạnh nhân
- Thuyết minh quy trình:
- Nguyên liệu: Nguyên liệu sử dụng là socola nguyên chất nguyên khối được nhập từ Singapore và Malaysia.
- Hòa tan: Nguyên liệu được đưa vào bồn hòa tan với cấu tạo bồn gồm hai lớp inox rỗng. Sau khi cho socola vào bồn, tiến hành gia nhiệt gián tiếp bằng cách bơm nước nóng vào giữa 2 lớp của bồn. Nước nóng được gia nhiệt bằng các heater chuyện dụng, gia nhiệt đến 50 – 600C, đảm bảo socola nóng chảy hoàn toàn. Sau khi hòa tan, socola được bơm qua bồn bơm định lượng, tại đây socola được kiểm soát nhiệt độ khoảng 400C để giữ trạng thái lỏng, chuẩn bị cho các công đoạn sau.
Nghị định về giấy phép môi trường , Mẫu giấy phép môi trường
- Đổ khuôn bánh lần 1: Socola được bơm định lượng vào khuôn, sau đó dùng thiết bị chuyên dụng rung nhẹ theo chiều ngang để loại bỏ các bọt khí nếu có.
- Thêm nhân bánh: Phần nhân sử dụng là hạt hạnh nhân thành phẩm, phần nhân bánh được đặt vào giữa khuôn socola lỏng và đưa qua máy ấn nhân để ấn hạnh nhân vào lớp socola. Sau khi ấn nhân, lớp socola tràn trên bề mặt khuôn sẽ được gạt đều bằng thiết bị gạn. Phần socola lỏng dư được hoàn lưu về bồn bơm định lượng, tái sản xuất hoàn toàn.
- Làm nguội: Sau khi thêm nhân, bánh socola dược đưa qua thiết bị làm nguội ở nhiệt độ khoảng 200C nhằm cố định vị trí nhân bánh quy.
- Đổ khuôn bánh lần 2: Đổ socola lên mặt dưới của bánh bằng máy bơm tự động sau đó vỗ và rung theo chiều ngang để loại bỏ các bọt khí. Sau đó gạt socola đều trên bề mặt bằng máy gạn chuyện dụng. Phần socola dư được hoàn lưu về bồn bơm định lượng, tái sản xuất hoàn toàn.
- Làm nguội: Bánh socola sau khi đổ khuôn lần 2 được đưa qua máy làm lạnh sau cùng, làm lạnh ở nhiệt độ 50C.
- Tháo khuôn: Sau khi làm lạnh, socola sẽ đông lại, tiến hành trút socola ra khỏi khuôn và kiểm tra trực quan.
- Dò kim loại: Bánh socola được đưa qua máy dò kim loại để kiểm tra việc có lẫn kim loại trong bánh hay không.
- Đóng gói lẻ: Các bánh socola được đóng gói riêng lẻ từng miếng bằng giấy nhôm và giấy bóng kính.
- Kiểm tra: Kiểm tra việc rút giấy của máy đóng gói lẻ bằng các camera.
- Đóng gói – lưu kho: Xếp socola vào túi bóng, hàn nhiệt, overlap hoăc hút chân không, đóng thùng giấy và lưu kho chờ xuất bán.
Giấy phép môi trường cấp huyện, Khi nào phải làm giấy phép môi trường
c. Quy trình sản xuất socola sữa:
Hình 3. Quy trình sản xuất socola sữa
Thuyết minh quy trình:
- Nguyên liệu: Nguyên liệu sử dụng là socola nguyên khối và socola trắng sữa được nhập từ Nhật Bản, Singapore và Malaysia.
- Hòa tan: Nguyên liệu được đưa vào bồn hòa tan với cấu tạo bồn gồm hai lớp inox rỗng. Sau khi cho socola vào bồn, tiến hành gia nhiệt gián tiếp bằng cách bơm nước nóng vào giữa 2 lớp của bồn. Nước nóng được gia nhiệt bằng các heater chuyện dụng, gia nhiệt đến 50 – 600C, đảm bảo socola nóng chảy hoàn toàn. Sau khi hòa tan, socola được bơm qua bồn bơm định lượng, tại đây socola được kiểm soát nhiệt độ khoảng 400C để giữ trạng thái lỏng, chuẩn bị cho các công đoạn sau.
- Đổ khuôn vỏ bánh: Nguyên liệu làm vỏ bánh là socola nguyên chất. Tại công đoạn này, socola được bơm định lượng lên mặt trên khuôn, sau đó dùng thiết bị rung lắc chuyên dụng để dàn trải thành 1 lớp socola mỏng.
- Làm nguội: Sau khi dàn trải thành lớp mỏng, socola được đưa qua thiết bị làm nguội ở nhiệt độ 200C.
- Đổ khuôn bánh lớp 2: Các lớp bánh được luân phiên thay đổi nguyên liệu, nguyên liệu cho lớp bánh thứ 2 là socola sữa. Socola sữa được bơm định lượng lên lớp vỏ bánh socola, sau đó dùng các thiết bị rung lắc chuyên dụng để dàn trải thành 1 lớp socola mỏng.
- Làm nguội: Sau khi dàn trải thành lớp mỏng, lớp socola sữa được đưa qua thiết bị làm nguội ở nhiệt độ 200C.
- Đổ khuôn bánh lớp 3: Nnguyên liệu cho lớp bánh thứ 3 là socola nguyên chất. Tương tự các lớp trên, nguyên liệu được bơm định lượng lên lớp bánh thứ 2, sau đó dùng các thiết bị rung lắc chuyên dụng để dàn trải thành 1 lớp mỏng.
- Làm lạnh: Bánh socola sau khi thành hình được đưa qua máy làm lạnh sau cùng, làm lạnh ở nhiệt độ 50C.
- Tháo khuôn: Sau khi làm lạnh, socola sẽ đông lạnh, tiến hành trút bánh socola ra khỏi khuôn và kiểm tra trực quan.
- Dò kim loại: Bánh socola được đưa qua máy dò kim loại để kiểm tra việc có lẫn kim loại trong bánh hay không.
- Đóng gói lẻ: Các bánh socola được đóng gói riêng lẻ từng miếng bằng giấy nhôm và giấy bóng kính.
- Kiểm tra: Kiểm tra việc rút giấy của máy đóng gói lẻ bằng các camera.
- Đóng gói – lưu kho: Xếp socola vào túi bóng, hàn nhiệt, đóng thùng giấy và lưu kho chờ xuất bán.
Cấp giấy phép môi trường, Dịch vụ xin giấy phép môi trường
1.3.3. Sản phẩm của dự án đầu tư:
Sản phẩm của dự án đầu tư là bánh kẹo socola các loại với quy mô 2.000 tấn sản phẩm/năm.
Xem thêm: Mẫu giấy phép môi trường mới nhất 2023

CÔNG TY CP TƯ VẤN ĐẦU TƯ & THIẾT KẾ XÂY DỰNG MINH PHƯƠNG
Địa chỉ: Số 28B Mai Thị Lựu, Phường Đa Kao, Q.1, TPHCM
Hotline: 0903649782 - (028) 3514 6426
Email: nguyenthanhmp156@gmail.com



Xem thêm