Báo cáo đề xuất cấp giấy phép môi trường dự án nhà máy gạch ngói
Báo cáo đề xuất cấp giấy phép môi trường dự án nhà máy gạch ngói. Nhà máy sản xuất gạch granite, gạch trang trí sân vườn, ngói gốm tráng men, công suất khoảng 21.200.000 m2/năm.
CHƯƠNG 1
THÔNG TIN CHUNG VỀ DỰ ÁN ĐẦU TƯ NHÀ MÁY GẠCH NGÓI
1. Tên chủ dự án đầu tư:
- Chủ đầu tư: CÔNG TY CỔ PHẦN
- Địa chỉ văn phòng: Cụm công nghiệp Gò Cầy, xã Bình Thành, huyện Tây Sơn, tỉnh Bình Định
- Người đại diện theo pháp luật của chủ dự án đầu tư: (Ông) - Điện thoại:
- Giấy chứng nhận đăng ký kinh doanh số: đăng ký lần đầu ngày 10/01/2023 do phòng ĐKKD Sở kế hoạch đầu tư tỉnh Bình Định cấp.
- Quyết định chấp thuận chủ trương đầu tư đồng thời chấp thuận nhà đầu tư dự án “Nhà máy gạch ngói Takao” do UBND tỉnh Bình Định cấp tại quyết định số 1414/QĐ-UBND ngày 27/04/2023.
2. Tên dự án đầu tư.
“Nhà máy gạch, ngói Takao” (Sau đây gọi tắt là dự án hoặc nhà máy)
- Địa điểm thực hiện đầu tư dự án: Dự án được thực hiện tại các lô B15, C1, C2, C3, C4, C5, C6 và một phần tuyến đường ĐS7 Cụm công nghiệp Gò Cầy, xã Bình Thành, huyện Tây Sơn, tỉnh Bình Định, trên khu đất có tổng diện tích khoảng 319.676 m2 (31,96ha) (Trong đó diện tích đất thực hiện dự án là khoảng 31,03ha, diện tích đất đường giao thông ĐS7 sử dụng chung khoảng 0,94ha – theo quyết định 2324/QĐ-UBND ngày 04/07/2023 của UBND tỉnh Bình Định về việc phê duyệt quy hoạch chi tiết xây dựng tỷ lệ 1/500 Nhà máy gạch, ngói Takao tại Cụm công nghiệp Gò Cầy, xã Bình Thành, huyện Tây Sơn) và có giới cận như sau:
- Phía Bắc giáp: Tuyến đường ĐS6 và đất cây xanh;
- Phía Nam giáp: Tuyến đường ĐS9, đất cây xanh và khu đất nhà điều hành;
- Phía Đông giáp: Tuyến đưuờng ĐS7 và các lô đất B1,B9,B10;
- Phía Tây giáp: Tuyến đường ĐS8 và đất cây xanh;
- Ranh giới và toạ độ các điểm góc của vị trí thực hiện dự án cụ thể như sau:
Hình 1.1. Vị trí thực hiện dự án
- Quy mô của dự án đầu tư: Phân loại theo tiêu chí quy định của pháp luật về đầu tư công (Luật đầu tư công số 39/2019/QH14), dự án đầu tư có vốn đầu tư 1.920 tỷ thuộc nhóm A theo tiêu chí quy định của pháp luật về đầu tư công (điểm g khoản 3 điều 8)
3. Công suất, công nghệ, sản phẩm của dự án đầu tư:
3.1. Công suất của dự án đầu tư.
Quy mô công suất dự án: Nhà máy sản xuất gạch granite, gạch trang trí sân vườn, ngói gốm tráng men, công suất khoảng 21.200.000 m2/năm, bao gồm:
+ Ngói tráng men: 3 triệu m2/năm. + Ngói phụ kiện: 1,2 triệu m2/năm.
+ Gạch trang trí sân vườn: 5 triệu m2/năm. + Gạch Granite: 12 triệu m2/năm.
Quy mô xây dựng
- Cơ cấu tổ chức không gian kiến trúc cảnh quan của khu quy hoạch được tổ chức như sau:
+ Mật độ xây dựng tối đa: 46,39%.
+ Tầng cao xây dựng: Hạng mục nhà hành chính 04 tầng; các hạng mục còn lại 01 tầng.
+ Hệ số sử dụng đất tối đa: 0,56 lần.
+ Chỉ giới xây dựng: Các công trình chính của dự án lùi vào tối thiểu 6m so với ranh giới khu đất
+ Cổng và hàng rào của nhà máy được thiết kế với hình thức kiến trúc hiện đại tạo tầm nhìn đẹp từ hướng chính và có tính chất biểu tượng.
+ Bố cục nhà máy cần phải thoả mãn các yêu cầu về tổ chức luồng hàng, luồng người thuận tiện, đáp ứng lưu trình công nghệ sản xuất nhà máy, đáp ứng yêu cầu về vận chuyện nội bộ và vận chuyển ra ngoài, giảm bớt lượng xây dựng của công trình, an toàn về phòng cháy nổ, vệ sinh giấy phép môi trường dự án nhà máy, mỹ quan chung.
+ Tổ chức bãi đỗ xe phân luồng giao thông trong nhà máy hợp lý. Bố trí các vị trí tránh xe, bãi quay đầu xe đối với đường cụt đảm bảo an toàn theo Quy định đường cho xe PCCC (QCVN 06:2022/BXD).
+ Nhà hành chính là điểm nhấn của nhà máy, được thiết kế với hình thức kiến trúc hiện đại, đường nét kiến trúc nhẹ nhàng, thanh thoát.
+ Các nhà xưởng cần có mặt đứng công trình kiến trúc chính quay ra đường trong cụm công nghiệp để tạo bộ mặt kiến trúc cảnh quan chung. Hình thức kiến trúc công trình đơn giản, màu sắc hài hòa, khoảng lùi và chiều cao hợp lý.
+ Căn cứ vào yêu cầu của dây chuyền công nghệ, điều kiện khí hậu, nguồn cung cấp và chủng loại vật tư, vật liệu, để tạo được vẻ đẹp công nghiệp mang dáng dấp đặc thù của công trình sản xuất hiện đại tiên tiến, hài hòa với cảnh quan xung quanh.
+ Tổ chức không gian cây xanh có những không gian nghỉ, kết hợp dịch vụ tạo cảm giác thư giãn sau những giờ làm việc của công nhân trong nhà máy.
3.2. Công nghệ sản xuất của dự án đầu tư.
3.2.1. Đánh giá việc lựa chọn công nghệ sản xuất của dự án đầu tư.
- Nâng cao giá trị sản phẩm tại dự án, tăng khả năng cạnh tranh trên thị trường. - Tạo sự liên kết chặt chẽ và chủ động nguồn nguyên liệu từ địa phương.
- Dự án nhằm cung cấp và đáp ứng nhu cầu cần thiết của thị trường trong và ngoài nước, mở rộng thị phần gạch ngói trang trí và góp phần củng cố thương hiệu Việt Nam trên thị trường thế giới;
3.2.2.Công nghệ sản xuất của dự án.
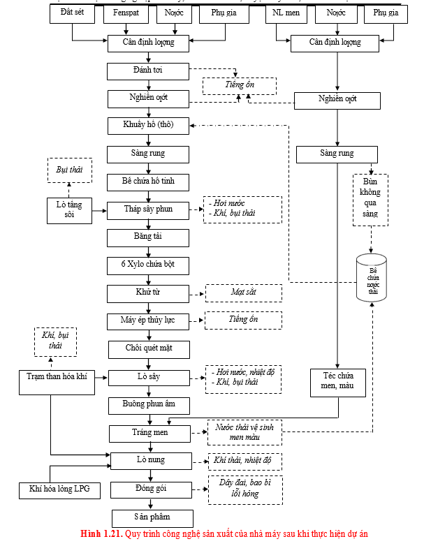
Quy trình sản xuất của nhà máy.
- Gạch granite còn được gọi là gạch thạch anh, gạch bóng kiếng, gạch đồng chất, là một chủng loại gạch lát không có lớp phủ men. Toàn bộ viên gạch là một khối đồng chất về nguyên liệu cũng như màu sắc do màu trộn vào trong cốt liệu nên không bị bay màu và là gạch đồng chất, từ đáy đến bề mặt cùng một chất liệu, có độ bóng sáng. Độ bóng của gạch là do kỹ thuật mài chứ không phải do lớp men. Kích thước chuẩn tuyệt đối nên mạch ghép rất nhỏ.
- Ngói tráng men là loại ngói lợp nhà bằng xương ceramic phủ men màu với màu sắc đa dạng, với công nghệ ceramic nên xương ngói thuộc loại sản phẩm bán sứ lại được tráng men nên mọi chỉ tiêu đều tốt gấp nhiều lần ngói đất sét nung thông thường. Sản phẩm có nhiều ưu điểm vượt trội như: Cường độ chịu uốn cao, không bong tróc, rêu mốc, có khả năng chống thấm tuyệt đối, chống nóng, chống ồn tốt và đa dạng về màu sắc.
- Ngói phụ kiện là ngói để dùng cho các điểm giao nhau giữa đỉnh nóc, phủ xà gồ, cuối mái, nối giữa hai viên ngói… sẽ tạo ra sự đồng bộ, dễ dàng trong lắp đặt, hài hòa màu sắc,…
- Đối với sản phẩm gạch trang trí sân vườn: Là sản phẩm gạch granite, tại khâu ép (ép thủy lực) dùng khuôn ép có bề mặt sần sùi để ép gạch. Sản phẩm có họa tiết, có màu sắc chân thật tạo nên độ sống động, mới lạ. Loại gạch này xuất hiện tại nhiều công trình như: quán cà phê, showroom, nhà hàng, rạp chiếu phim, nhà phong cách cổ và nhà phố dân dụng,....Sản phẩm có độ bền cao giúp đảm bảo thời gian sử dụng lâu dài, tăng tuổi thọ cho công trình.
- Về quy trình công nghệ sản xuất gạch của Công ty được trình vày cụ thể như sau:
Thuyết minh quy trình công nghệ sản xuất:
- Sản xuất nguyên liệu làm xương:
+ Đất sét, nguyên liệu gầy và phụ gia khác sơ chế chứa trong kho nguyên liệu sau đó xe xúc lật đổ vào cân theo công thức tính trước theo định lượng đưa vào máy nghiền bi bằng hệ thống băng tải. Nước và bi nghiền được đưa vào máy theo định mức, phối liệu sau khi nghiền có độ ẩm 32% được qua sàng loại bỏ tạp chất. Hồ sau khi sơ chế phải đảm bảo các thông số kỹ thuật theo quy định và được kiểm tra và điều chinh đúng sau đó được bơm áp lực đưa qua tháp sấy phun sấy đạt độ ẩm 5-6%, tạo thành bột nguyên liệu và được chứa vào các Silô qua hệ thống băng tải và khử từ.
+ Khâu sản xuất nguyên liệu làm xương ngói rất quan trọng, xương ngói rất lớn đến chất lượng của sản phẩm vì vậy việc kiêm soát đầu vào và quy trình rất chặt. Tỷ trọng của nguyên liệu xương sau khi nghiền: 1,68-1,72 kg/100ml; Độ nhớt: 25-30 giây; Sót sàng trên sàng 0,063mm: 6-7 g/100ml
+ Ngói nung nóng trong nhiệt độ cao. Lúc đó thì khối đất sét bắt đầu kết lại thành một thể chắc chắn, có độ bền cao, đảm bảo độ ẩm.
- Ép và sấy sản phẩm:
+ Bột liệu sau khi sấy xong đưược ủ theo quy trình và tháo tự động từ các silô qua sàng, qua hệ thống băng tải và vận chuyển đến phễu chứa của máy ép.
+ Bột được cấp tự động vào hệ thống nạp liệu đa trục và băng tải. Từ hệ thống nạp liệu đa trục bột được đưa vào khuôn ép nhờ xe giải liệu.
· Cỡ hạt: > 500 µm: 10-12% · Cỡ hạt > 315µm: 30-35% · Cỡ hạt > 200 µm: 30-35%
· Độ ẩm của bột sau khi sấy: 5,5-6,5% · Cỡ hạt > 160 µm: 19-22%
· Cỡ hạt > 80 µm: 3-5%
· Cỡ hạt < 80 µm: 0,5-1%
+ Máy ép thuỷ lực có lực ép tối đa 3.600 tấn dự kiến áp lực lên viên ngói là 300-320 kg/cm2 tương đương với lực của máy ép 15120 KN - 16128 KN. Độ dày viên ngói 10-12
mm.
+ Sau khi ép được tháo ra khỏi khuôn và chuyển qua hệ thống băng chuyền đến lò sấy sản phẩm mộc bằng băng chuyền con lăn. Sản phẩm mộc được sấy trong lò sấy theo quy trình sấy nhanh. Độ ẩm sau sấy đạt < 0,5%; Chu kỳ sấy của lò: 45-50 phút; Nhiệt độ sấy 200 – 9000C.
+ Sau khi sấy, sản phẩm theo băng chuyền ra dây chuyền tráng men.
- Phủ men:
+ Nguyên liệu làm men được cân đong, định lượng chuyển vào máy nghiền men, hỗn hợp men sau khi nghiền được chứa trong các thùng chứa có thiết bị khuấy liên tục làm hỗn hợp được đồng nhất. Tuỳ theo yêu cầu phủ men, men được bơm lên qua sàng 10.000 lỗ/cm2 để phủ men lên bề mặt của sản phẩm. Tráng men chính là tạo sự sang trọng, hạn chế rêu mốc.
+ Sót sàng của men sau khi nghiền (sàng 0,043mm): 4-5 g/100ml; Tỷ trọng men khi tráng: 1.550-1.560 g/lít; Độ nhớt: 13-15 giây; Khối lượng men cho 1 viên ngói: 98-100g
- Nung sản phẩm:
+ Sản phẩm phủ men theo băng chuyền đến lò nung con lăn và được nung theo công nghệ nung nhanh. Nhiên liệu cung cấp cho lò nung là khí hóa lỏng LPG để hạn chế gây ô nhiễm cho giấy phép môi trường nhà máy gạch ngói hoặc trong trường hợp nguồn nguyên liệu không đủ để cung cấp thì nhiệt lượng sẽ được lấy từ khí đốt của trạm đốt bằng nguyên liệu than hoá khí. Lò
nung con lăn có chiều dài lò 235 m, rộng 3 m bằng than hóa khí. Chu kỳ lò nung dự kiến 50-60 phút, nhiệt độ 1.140 – 1.1700C. Nhiệt độ lò nung được điều chỉnh tự động tại các vùng nung khác nhau. Giai đoạn tiền nung của ngói tráng men được kéo dài ra làm tăng quá trình thoát khí từ xương để hạn chế khuyết tật lõi đen của xương và châm kim của mặt men.
+ Sản phẩm sau khi được nung đạt yêu cầu theo băng chuyền ra phân xưởng. Tại đây sản phẩm được phân loại sản phẩm và đóng gói.
- Sản phẩm:
+ Sản phẩm đạt tiêu chuẩn được đóng hộp sếp vào palet gỗ sau khi hoàn thành sản phẩm được đai xung quanh và chuyển vào kho bằng xe nâng hàng.
+ Phương án cấp nhiệt: Lò than xích, lò tầng sôi cấp nhiệt cho lò sấy phun, trạm than hóa khí để cấp nhiệt cho lò sấy và nung.
+ Hiện nay việc sử dụng than đá đốt lò hơi tầng sôi đang trở nên rất phổ biến vì khi dùng phương pháp này, lượng nhiệt tỏa ra của than đá được tận dụng triệt để, hơn nữa lò hơi tầng sôi còn được xem là công nghệ thân thiện với giấy phép môi trường dự án, giảm thiểu tối đa ô nhiễm và các chất thải độc hại
+ Lò hơi tầng sôi là lò đốt có nhiên liệu được đốt cháy trong 1 lớp hoặc 1 thể sôi với những hạt rắn nóng không cháy. Tầng sôi là 1 vùng không gian được tạo nên bởi các nguyên liệu đốt như cát, tro, than, đá vôi chúng được nâng lên ở trạng thái lơ lửng trong buồng đốt do áp lực của dòng không khí. Các hạt chuyển động tự do và sôi giống như chất lỏng ở trạng thái này được gọi là tầng sôi hay lớp sôi.
+ Sản phẩm sau khi mài/đánh bóng bề mặt, mài cạnh được phân loại theo phẩm cấp chất lượng.
+ Sản phẩm đạt tiêu chuẩn được đóng hộp xếp vào palet gỗ sau khi hoàn thành được đai xung quanh và chuyển vào kho bằng xe nâng hàng.
>>> Xem thêm: Báo cáo đề xuất cấp giấy phép môi trường Nhà máy sản xuất phân bón

CÔNG TY CP TƯ VẤN ĐẦU TƯ & THIẾT KẾ XÂY DỰNG MINH PHƯƠNG
Địa chỉ: Số 28B Mai Thị Lựu, Phường Đa Kao, Q.1, TPHCM
Hotline: 0903649782 - (028) 3514 6426
Email: nguyenthanhmp156@gmail.com



Xem thêm